Zum Hauptinhalt springen Zur Suche springen Zur Hauptnavigation springen
Menü
efr
erf
rrrf
Schnell lieferbar
14 Tage Rückgaberecht
Schneller DPD Versand

zu Artikel: Flachkopfschraube 99561

Technik-Info

Flachkopfschraube

Sechskantschraube, Schraube, Bundschraube, Sechskantflanschschraube, Flanschschraube, Maschinenschraube, Maschinen-Schraube, Sechskant-Schraube, Flansch-Schraube, Bund-Schraube, Flachkopfschraube, Sechskant-Schraube, Flachkopf-Schraube, Sechskantstufenschraube, Befestigungshalter, Befestigung, Halterung, Halter, Flanschhscraube

Hier handelt es sich um ein Standard-Ersatzteil in erstklassiger Qualität. Die Teile werden einer ständigen Qualitätssicherung unterzogen, zu Ihrer und unserer Zufriedenheit.

Die Marke Rex ist eine der meistverkauften in Deutschland. Durch ständige Qualitätskontrollen vorort beim Hersteller ist ein hoher Standard gewährleistet.

Kostenloser Versand   Bei Ersatzteilen für jeden zusätzlichen Artikel mit den gleichen Versandkriterien, den Sie von uns kaufen.

Sie können unsere Ersatzteile für ihren Roller bzw. Motorroller oder auch Scooter bequem online in unserem Shop kaufen. Egal ob Kaufhaus-Roller oder im Baumarkt-Roller, für alle gängigen Europa-, China-, oder Taiwan-Roller finden Sie bei uns passende Bauteile. Speziell für die Motoren 50 cc, 125 cc, 250 ccm, 2takt, 4takt und für größere Leistungen. Speziell für die Motorentypen 139QMB, 139QMA, 1E40QMB, 152QMI, 157QMI, GY6, 125-4T6M, 139FMB, 153FMI, 156FMI, 157QMJ, 158MJ, 164FML, 1E40QMA, JSD139QMB, 150QMG in kurzen und langen Versionen in den Normen Euro1, Euro2, Euro3 sowie die neuen Euro 4 Einspritzer-Motoren finden Sie qualitativ hochwertige Ersatzteile. Gerne können Sie auch per Email nach Ersatzteilen anfragen. Ab Bestellwerten über 100 Euro bieten wir Ihnen unseren Finanzierungs- bzw. Ratenkauf-Service an. Beim Kauf von Fahrzeugen besteht die Möglichkeit der Finanzierung oder des Leasings. Speziell für Firmen, die Betriebsfahrzeuge anschaffen, oder ihren Mitarbeitern ein Fahrzeug zur Verfügung stellen, ist die eine interessante Alternative.

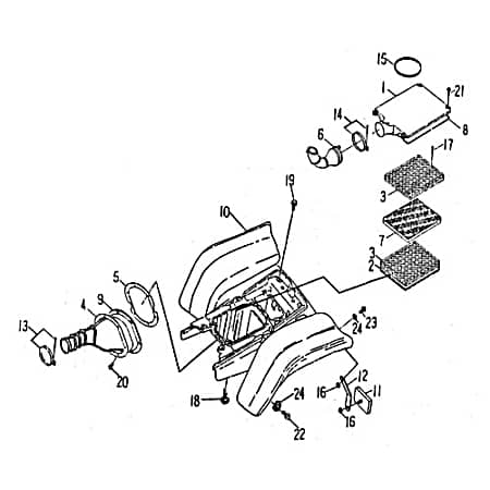
Baugruppe: Motor

Ersatzteil: Luftfilter

Artikelposition in Explosionszeichnung: 21

Motorroller bequem online kaufen – von der Bestellung bis zur Lieferung


Mobiler Home Service – Bundesweit Inspektionen und Reparaturen


Motorroller.de – Über uns – Ihr Support vom Profi seit 1993

Ihr Finanzierungsplan**
Monate Rate mtl. Gesamt
6039,67 €2.380,49 €
12157,59 €1.891,14 €

Einfach im Bestellvorgang die Expokredit-Finanzierung als Zahlungsweise auswählen ...

  • Barossa Cheetah 250
  • Kreidler Mustang 170
  • Kreidler Mustang 200
  • Kreidler Mustang 250
  • Rex Quad 150
  • Rex Quad 150ccm (1-Zyl.)
  • Rex Quad 250
  • Rex Quad 250ccm (2-Zyl.)
  • SMC STM Quad 150
  • SMC STM Quad 170
  • SMC STM Quad 200
  • SMC STM Quad 250
Produktgalerie überspringen

Kunden haben sich ebenfalls angesehen

Rabatt
Federscheibe Federring Kreidler STAR Deluxe 4S 125 SF504-1042 Motorroller.de Spannscheibe Ausgleichsscheibe Feder-Ring Zwischenscheibe Spreng-Ring
Federscheibe Federring Kreidler STAR Deluxe 4S 125 SF504-1042 Motorroller.de Spannscheibe Ausgleichsscheibe Feder-Ring Zwischenscheibe Spreng-Ring

zu Artikel: Federring SF504-1042 Technik-InfoFederring Distanzscheibe, U-Scheibe, Federscheibe, Unterlegscheibe, Sprengring, Unterleg-Scheibe, Distanz-Scheibe, Feder-Scheibe, Spreng-Ring, Spannscheibe, Spann-Scheibe, Federring, Feder-Ring, Beilagscheibe, Zwischenscheibe, Ausgleichsscheibe Die Federscheibe hält die Spannung aufrecht, auch wenn die Verschraubung nicht (mehr) ganz fest ist. Die Ersatzteile dieses Herstellers haben sich seit Jahren im täglichen Einsatz bewährt. Durch beständigen Erfahrungsaustausch wird die Qualität auf ein Maximum angehoben. Kostenloser Versand   Bei Ersatzteilen für jeden zusätzlichen Artikel mit den gleichen Versandkriterien, den Sie von uns kaufen. Sie können unsere Ersatzteile für ihren Roller bzw. Motorroller oder auch Scooter bequem online in unserem Shop kaufen. Egal ob Kaufhaus-Roller oder im Baumarkt-Roller, für alle gängigen Europa-, China-, oder Taiwan-Roller finden Sie bei uns passende Bauteile. Speziell für die Motoren 50 cc, 125 cc, 250 ccm, 2takt, 4takt und für größere Leistungen. Speziell für die Motorentypen 139QMB, 139QMA, 1E40QMB, 152QMI, 157QMI, GY6, 125-4T6M, 139FMB, 153FMI, 156FMI, 157QMJ, 158MJ, 164FML, 1E40QMA, JSD139QMB, 150QMG in kurzen und langen Versionen in den Normen Euro1, Euro2, Euro3 sowie die neuen Euro 4 Einspritzer-Motoren finden Sie qualitativ hochwertige Ersatzteile. Emailanfragen nach speziellen Ersatzteilen beantworten wir Ihnen gerne. Wenn sie für mehr als 100 Euro bestellen, können wir Ihnen auch Finanzierungs- bzw. Ratenkauf anbieten. Beim Kauf von Fahrzeugen haben Sie auch die Möglichkeit zu finanzieren oder zu leasen. Letzteres bietet sich besonders für Firmen an, die Betriebsfahrzeuge anschaffen, oder ihren Mitarbeitern ein Fahrzeug zur Verfügung stellen. Bitte fragen Sie an.

Verkaufspreis:
Nicht verfügbar
1,69 € Regulärer Preis: 1,94 €
Rabatt
Dichtgummi hinten Kreidler Mustang 170 UTILITY Quad ATV 93292 Motorroller.de Dichtring Staubring 170ccm-4Takt SMC Quad 170 Offroad Ersatzteil Service
Dichtgummi hinten Kreidler Mustang 170 UTILITY Quad ATV 93292 Motorroller.de Dichtring Staubring 170ccm-4Takt SMC Quad 170 Offroad Ersatzteil Service

zu Artikel: Dichtgummi 93292 Technik-InfoDichtgummiStaubring, Dichtgummi, Dichtung, Dichtring Die Marke Rex ist eine der meistverkauften in Deutschland. Durch ständige Qualitätskontrollen vorort beim Hersteller ist ein hoher Standard gewährleistet.Kostenloser Versand   Bei Ersatzteilen für jeden zusätzlichen Artikel mit den gleichen Versandkriterien, den Sie von uns kaufen.Unsere Ersatzteile für ihren Scooter bzw. Motorroller oder auch Roller können Sie bequem online in unserem Shop kaufen. Egal ob sie Ihren Roller im Kaufhaus oder im Baumarkt gekauft haben, für alle gängigen China-, Europa-, oder Taiwan-Roller finden Sie bei uns passende Bauteile, insbesondere für die Motoren 50 cc, 125 cc, 250 ccm, 4-Takt, 2-Takt und für größere Leistungen. Speziell für die Motorentypen 125-4T6M ,157QMJ, 158MJ ,164FML ,139QMB, 139QMA, JSD139QMB ,150QMG ,139FMB , GY6 ,152QMI, 157QMI ,1E40QMB, 1E40QMA ,153FMI, 156FMI in kurzen und langen Versionen in den Normen Euro1, Euro2, Euro3 sowie die neuen Euro 4 Einspritzer-Motoren finden Sie Ersatzteile von bewährter Qualität. Gerne können Sie auch per Email nach Ersatzteilen anfragen. Bei Bestellwerten über 100 Euro können Sie auch unseren Ratenkauf- bzw. Finanzierungs-Service nutzen. Beim Kauf von Fahrzeugen können wir Ihnen auch ein Leasing-Angebot unterbreiten, das bietet sich insbesondere für Firmen an, die Betriebsfahrzeuge anschaffen, oder ihren Mitarbeitern ein Fahrzeug zur Verfügung stellen. Bitte fragen Sie an.

Verkaufspreis:
Nicht verfügbar
4,15 € Regulärer Preis: 4,77 €
Rabatt
Dekorblende Frontverkleidung Firejet rot 19 1020304-2-R
Dekorblende Frontverkleidung Firejet rot 19 1020304-2-R

zu Artikel: Dekorblende Frontverkleidung, Verkleidung vorne Firejet rot 19 lackiert 1020304-2-R-4T125 Dekorblende Frontverkleidung vorne rot19 Firejet 4Takt 125ccm YY125T-28   Motortyp: 1E40QMB   Bitte berücksichtigen Sie, dass der Farbton aufgrund verschiedener   Chargen und Lackiertermine abweichen kann.Es handelt sich um keine RAL-Ton Lackierung wie bei teuren PKW- oder Motorradlackierungen.Die Preise sind sehr günstig und wie unlackierte Teile kalkuliert, da Artikel leichte Kratzer aufweisen könnenTechnik-InfoDekorblendeCover, Dekorabdeckung, Verkleidungsdeckel, Dekor-Verkleidung, Dekor-Blende, Dekor-Cover, Front-Cover, Dekor-Abdeckung, Verkleidungs-Deckel, Dekocover, Dekorblende vorn, Abdeckkappe, Dekorblende-vorn, Dekogitter, Deko-Cover, Dekorgitter, Dekorverkleidung, Frontcover, Dekorcover, DekorblendeVerkleidungsteile für bestimmte (seltene) Modelle sind oft schwer zu bekommen. Darum haben wir bei unseren eigenen Modellen Wert auf zeitlos elegantes Design gelegt, sodass wir auch für ältere Modelle unserer Eigenmarken stetes Ersatz liefern können. Unsere Verkleidungsteile sind aus hochwertigem langlebigen Kunststoff hergestelltDieser Artikel passt bei vielen Modellen, unter anderem für: AGM Fighter 125 One, AGM Firejet 50 YY50QT-28-AA-2TC, AGM Fighter 50 One, AGM Fighter 50 Sport, Die Ersatzteile dieses Herstellers haben sich seit Jahren im täglichen Einsatz bewährt. Durch beständigen Erfahrungsaustausch wird die Qualität auf ein Maximum angehoben.Kostenloser Versand   Bei Ersatzteilen für jeden zusätzlichen Artikel mit den gleichen Versandkriterien, den Sie von uns kaufen.Unsere Ersatzteile für ihren Motorroller bzw. Roller oder auch Scooter können Sie bequem online in unserem Shop kaufen. Egal ob sie Ihren Roller im Kaufhaus oder im Baumarkt gekauft haben, für alle gängigen China-, Taiwan-, oder Europa-Roller finden Sie bei uns passende Bauteile, insbesondere für die Motoren 50 cc, 125 cc, 250 ccm, 2takt, 4takt und für größere Leistungen. Speziell für die Motorentypen 153FMI, 156FMI ,152QMI, 157QMI ,1E40QMB, 1E40QMA ,157QMJ, 158MJ , GY6 ,125-4T6M ,150QMG ,164FML ,139FMB ,139QMB, 139QMA, JSD139QMB in kurzen und langen Versionen in den Normen Euro1, Euro2, Euro3 sowie die neuen Euro 4 Einspritzer-Motoren finden Sie Ersatzteile von bewährter Qualität. Gerne können Sie auch per Email nach Ersatzteilen anfragen. Bei Bestellwerten über 100 Euro können Sie auch unseren Ratenkauf- bzw. Finanzierungs-Service nutzen. Beim Kauf von Fahrzeugen können wir Ihnen auch ein Leasing-Angebot unterbreiten, das bietet sich insbesondere für Firmen an, die Betriebsfahrzeuge anschaffen, oder ihren Mitarbeitern ein Fahrzeug zur Verfügung stellen. Bitte fragen Sie an.

Verkaufspreis:
Verfügbar
9,95 € Regulärer Preis: 11,44 €
Rabatt
Gasgriffgehäuse 4Takt 50ccm 701806
Gasgriffgehäuse 4Takt 50ccm 701806

zu Artikel: Gasgriffgehäuse 4Takt 50ccm Gasdrehgriff Technik-Info Gasgriffgehäuse auch zu finden unter: Gasgriffgehäuse, Gasgriffgehaeuse, Gasgriffhülse, Gasgriffhuelse, Gasdrehgriff, Drehgriff, Gasgriff, Gasgriffhülse, Gasgriffhuelse Unsere Griffe sind so gestaltet, dass sie gut in der Hand liegen und guten Grip bieten. Sie sind alle in Erstausrüsterqualität. Dieser Artikel passt bei vielen Modellen, unter anderem für: Kreidler Drive Kreidler Jigger 50 Kreidler Jigger 50 City Kreidler Martinique 125 Kreidler Martinique DD 125 Kreidler MONZA 50 Race / Urban (Fin: WS1 od. L8Y) Kreidler RS 500 Rex 25 Scooter Rex 50 Scooter Rex 50 Scooter/MK 50/CAPRIOLO 50 (2-Takt) Rex Drive 50 Rex JIGGER 50 City Rex Monza 50 Fin: L5Y Rex REXY 25-50 Rex Rexy 50 Rex Rexy 50 25 km/h Rex Rexy 50 50 km/h Rex RS 1100 Rex RS 400 Rex RS 460 Rex RS 460 BOSTON 8 Rex RS 460 Mofaroller 4-T Rex RS 500 Rex RS 500 QM50QT 6A-AQINGQI Rex Stratos Chicago Rex Stratos Montana Rex Stratos Montana 50 Rex Torino 125 Geprüfte Erstausrüsterqualität sehr gute Verarbeitung günstiger Preis Direktimport Kauf 100% ohne Risiko vom Topseller Unsere Ersatzteile für ihren Scooter bzw. Motorroller oder auch Roller können Sie bequem online in unserem Shop kaufen. Egal ob sie Ihren Roller im Baumarkt oder im Kaufhaus gekauft haben, für alle gängigen Taiwan-, Europa-, oder China-Roller finden Sie bei uns passende Bauteile, insbesondere für die Motoren 50 cc, 125 cc, 250 ccm, 2takt, 4takt und für größere Leistungen. Speziell für die Motorentypen 164FML ,150QMG ,1E40QMB, 1E40QMA ,157QMJ, 158MJ , GY6 ,125-4T6M ,139QMB, 139QMA, JSD139QMB ,153FMI, 156FMI ,139FMB ,152QMI, 157QMI in kurzen und langen Versionen in den Normen Euro1, Euro2, Euro3 sowie die neuen Euro 4 Einspritzer-Motoren finden Sie Ersatzteile von hoher Güte. Gerne können Sie auch per Email nach Ersatzteilen anfragen. Bei Bestellwerten über 100 Euro können Sie auch unseren Finanzierungs- bzw. Ratenkauf-Service nutzen. Beim Kauf von Fahrzeugen können wir Ihnen auch ein Leasing-Angebot unterbreiten, das bietet sich insbesondere für Firmen an, die Betriebsfahrzeuge anschaffen, oder ihren Mitarbeitern ein Fahrzeug zur Verfügung stellen. Wir freuen uns auf Ihre Anfrage. Auswechseln oder instand setzen? Diese Frage wird von Rollerbesitzern regelmäßig gestellt, ganz gleich, ob sie einen Motorroller, 3-Rad Roller oder Elektroroller beziehungsweise E-Roller ihr Eigen nennen, wenn etwas am Zweirad schadhaft geworden ist. Ein Ersatzteil, das relativ rasch ausgewechselt werden kann, ist nicht nur preisgünstiger, sondern bietet überdies eine bedeutend höhere Ausfallsicherheit als nach einer Instandsetzung. Oftmals kann man die Ursache für eine Funktionsstörung nicht gleich selber finden und ein qualifizierter Fachmann muss ermitteln, wo der Hase im Pfeffer liegt. Bestellen Sie doch am besten sofort eines unserer einbaufertigen Komplett-Kits, welche wir in vielen unterschiedlichen Ausführungen anbieten. . Für Ihr Zweirad - hochwertige Qualitätsersatzteile Die Qualität all unserer Teile entspricht dem Weltmarktniveau. Weshalb können wir so günstig sein? Die Antwort: Weil wir auf wirtschaftlich sinnvolle Einkaufsmengen der Produkte achten. Sämtliche lieferbaren Bauteile für Ihren Motorroller können Sie bei über unseren Shop sowohl in guter Qualität als auch für einen Preis ordern, der Ihnen ein Lächeln ins Gesicht zaubert. Wir führen sogar für die allermeisten Motorroller, Buggys und Quads die Komponenten, welche gar nicht mehr hergestellt werden. Z.B. haben wir alle Einbauteile für die Marken Eppella und Sundiro nach wie vor vorrätig. Natürlich liefern wir auch die Originalteile für Ihren Roller, obschon unsere Nachbauten einen qualitativen Vergleich mit dem Erstausrüster-Produkt nicht scheuen müssen, jedoch allgemein beträchtlich billiger sind. Ganz egal, ob Sie die Instandsetzung Ihres fahrbaren Untersatzes selber durchführen wollen oder lieber in einer Werkstatt durchführen lassen möchten, in jedem Fall liegen Sie mit unseren Komponenten genau richtig. Sie werden ohne Zweifel keine bessere Alternative finden, um zu günstigen Kosten Ihren fahrbaren Untersatz instand setzen zu können. Es ist denkbar simpel, mithilfe der Bilder das gewünschte Austauschteil aufzufinden Auf unserer Website gibt es reichlich Bildmaterial, das Ihnen behilflich ist, Ihre alte Komponente auf einfache Weise mit dem erhältlichen Ersatz zu vergleichen. Auf diese Weise können Fehllieferungen zufolge fehlerhafter Bestellungen bereits im Voraus ausgeschlossen werden. Achten Sie bitte speziell auf die Übereinstimmung des schadhaften Bauteils mit dem abgebildeten Artikel; besonders was die angegebenen Maße und Spezifikationen betrifft.   Zehn Vorteile aus denen Sie Nutzen ziehen:   Sie bezahlen nur einmal den Versand beim Ordern mehrerer Einbauelemente mit identischen Versandkriterien ISO-zertifizierte Präzisionsfertigung Alle unsere Ersatzteile sind gebrauchstauglich, betriebssicher sowie kostengünstig Sie bekommen von uns ohne Ausnahme die Erstausrüsterqualität - auch bei preiswerten Nachbauten Wir holen und bringen Ihren Roller Kurzfristige Lieferzeiten Roller-Ankauf 100-prozentige Fahrsicherheit des Rollers, besonders bei den Bremsen Unser Lager umfasst Teile und Zubehör für etwa 250 Marken und 8500 Modelle Mit unserer "Geld zurück" - Garantie kaufen Sie ohne Risiko   Roller, Quads, Buggys und Fun Fahrzeuge kauft man am besten bei uns als Fachhändler. Weshalb sind wir der entsprechende Partner für Sie? Weil wir die Meister-Qualifikation und das entsprechende Know-how besitzen, die man für diesen Geschäftsbereich auf jeden Fall benötigt. Wir betreiben nicht nur unser Geschäft rund um die Roller, wir leben es richtiggehend. Es ist notwendig, sich das Fachgeschäft deswegen zuvor genau anzusehen, bevor man sich zu einem Kauf entschließt. Alles ist bei uns transparent und für den Kunden nachvollziehbar! Sie dürfen gerne zu jeder Zeit bei uns vorbeikommen und sich selber ein Bild machen.Das was Sie dort sehen, wird Sie ohne Frage überzeugen. Wenn Ihnen die Anfahrtsstrecke zu uns zu weit ist, können Sie sich auch mittels der unterschiedlichen Ebay Bewertungen und des Trustedshops-Siegels kundig machen. Die Bewertungen von Trustedshops sind im Prinzip nicht nur ungemein aussagekräftig, sondern auch hundertprozentig wertneutral. Sowohl der Internetshop auf unserer Internetseite Motorroller.de als auch unsere Geschäftspraxis wurden von dieser Einrichtung bis jetzt durchgängig mit "sehr gut" bewertet. Was unsere Kundenbewertungen gleichermaßen in einem Bereich, der sich durchaus sehen lassen kann. Was veranschaulichen all diese Ergebnisse ganz eindeutig? Dass wir auf allen Gebieten immer geben!! Bitte denken Sie daran: Wir sind auch nur Menschen, die unter Umständen Fehler machen. Deswegen bitten wir Sie, sofern mal etwas nicht so gut gelaufen ist, uns auf jeden Fall die Gelegenheit zur Verbesserung zu geben. Zu welchen Zeiten wir Ihnen zu Diensten stehen? Jeden Tag von 8:00 bis 18:00 Uhr und am Samstag von 8:00 bis 13:00 Uhr. Jahrzehnte im Dienst unserer Kunden Die Zufriedenheit unserer Kundschaft liegt uns besonders am Herzen. Den Handel mit motorisierten Zweirädern betreiben wir bereits über 25 Jahre überaus Erfolg versprechend, möchten hierbei aber erwähnen, dass wir schon mehr als fünfzig Jahre auf eine erfolgreiche geschäftliche Aktivität auf dem Gebiet Maschinenbau zurückblicken können. Inzwischen haben wir uns auf Fahrzeugzubehör, Ersatzbauteile und das "Nice-to-have" zur Steigerung der Motorleistung für die häufigsten Motorroller spezialisiert. Unser Sortiment umfasst circa 500.000 Teile Wer auf der Suche nach einem preisgünstigen Motorroller oder der richtigen Komponente für seinen fahrbaren Untersatz ist, der wird bei uns unter Motorroller.de auf unserer Internetseite fündig. Es gibt gegenwärtig Artikel, passendes Zubehör und Teile für rund 8500 Typen und 250 Hersteller in unserem Warenlager, die lediglich auf Ihre Bestellung warten. Adly, Yamaha, Kreidler oder Jonway gehören zum Beispiel zu unseren langjährigen Produzenten. Auf einer Fläche von über 1.000 m² haben wir in unseren Hochregalen mehr als 500.000 Produkte unterschiedlicher Anbieter sofort lieferbar. Unser Zubehörbereich bietet demnach alles, was Sie als Rollerfahrer für Ihren fahrbaren Untersatz benötigen. Das beginnt bei den Regensets, Handschuhen und Nierengürteln, und geht bis hin zu den Windschildern über das Top Case und den Sturzhelmen.Selbst Tuningfans kommen bei uns auf ihre Rechnung. Sie finden in unserem Tuningbereich alles was das Herz begehrt, wie z.B. Kolben, Zylinder, Auspuffanlagen und andere Dinge. Was passiert im Anschluss an die Produktion? Sämtliche Produkte verlassen unser Unternehmen erst im Anschluss an eine strenge Qualitätskontrolle. Anders ausgedrückt bedeutet das, dass alle Roller, die vom Hersteller bei uns ankommen, nochmals in unserem Betrieb einer eingehenden Überprüfung auf etwaige Fehler oder Transportschäden unterzogen werden. Erst dann übergeben wir sie an unsere Kunden. Wir packen zuerst jedes Fahrzeug nach der Ankunft in unserem Haus aus und unterziehen es auf unserem computergesteuerten Prüfstand einem Probelauf. Ein abschließender Funktionstest erfolgt dann im Anschluss der Übergabe an den Kunden. So ist gesichert, dass der Roller sich wirklich in einem tadellosen Zustand befindet und den Käufer vollständig zufriedenstellt. Wir legen Wert auf eine saubere Umwelt Wir tragen zum Umweltschutz bei. Zum einen sind unsere Motorroller in der Regel mit wirtschaftlichen Verbrennungsmotoren bestückt. Die Transportverpackung nehmen wir klarerweise wieder mit, um sie einer professionellen Müll-Entsorgung zuzuführen - auch das gehört für uns zum Umweltschutz. Ihren alten Motorroller kaufen wir gerne an Ihr ausgedienter Motorroller tut es nicht mehr richtig und Sie beabsichtigen, bei uns ein neues Gefährt zu bestellen. Was jedoch tun mit dem Oldie? Zerbrechen Sie sich hierüber nicht den Kopf! Wir kaufen Ihren alten Roller an. Sie sind nach wie vor skeptisch? Wenn wir von Ihnen die Möglichkeit dazu bekommen würden, könnten wir die Qualität unserer Leistungen auch unter Beweis stellen. Im Gegensatz zu den billigen Internetshops, die schnell wieder weg sind, können wir eine jahrelange Firmentradition vorweisen. Es ist uns bekannt, dass sich allein auf Grund fortschrittlicher Innovationen und neuer Ideen die Grundlage für eine effektive Geschäftstätigkeit legen lässt. Falls für Sie einmal die Möglichkeit besteht, einen Abstecher nach Lindenfels-Eulsbach zu machen, haben Sie die Gelegenheit, sich persönlich in unserem Betrieb von unserem herausragenden Service zu überzeugen. Wie kommen Sie am besten zu uns nach Lindenfels? Lindenfels liegt im Regierungsbezirk Darmstadt, und zwar 40 km nordöstlich von Mannheim beziehungsweise rund 60 km im Süden von Frankfurt/Main. Am besten fahren Sie von Süden her über die A8, während Sie aus nördlicher Richtung die A6 nehmen. Die Anfahrt mit der Bahn ist logischerweise ebenso möglich. Unsere Topmarken Unsere Topmarken

Verkaufspreis:
Nicht verfügbar
7,40 € Regulärer Preis: 8,51 €
Rabatt
Lichtschalter Hupe Jonway RS 1100 Knopf Ausschalter 1050103-1 Motorroller.de Einschalter Scheinwerferschalter Licht-Schalter 139QMB Scooter Torino 125
Lichtschalter Hupe Jonway RS 1100 Knopf Ausschalter 1050103-1 Motorroller.de Einschalter Scheinwerferschalter Licht-Schalter 139QMB Scooter Torino 125

zu Artikel: Schalter, Knopf HupeLichtschalterSchalter, Knopf HupeTechnik-InfoSchalterLichtschalter, Schalter Fernlicht, Schalter Frenlicht, Knopf Fernlicht, Schalter Auf-Abblendlicht, Knopf Auf-Abblendlicht, Schalter, Knopf, Switch, Einschalter, Ausschalter, Blinkerschalter Startschalter, Scheinwerferschalter, Spezial Scheinwerferschalter, Spezial Lichtschalter, Licht Ein/Ausschalter, Beleuchtungsschalter, Schalter Licht, Licht-SchalterSchalter beim Motorroller sind die Steuerelemente für Licht, Blinker, Hupe, etc. Auch hier ist darauf zu achten, dass beim Ersatz die entsprechende Qualität gekauft wird. Wir liefern sämtliche Schalt- und Elektroelemente in Erstausrüster-Qualität.Dieser Artikel passt bei vielen Modellen, unter anderem für: Rex RS 460 BOSTON 8, Otto Versand Rex RS 400, Rex RS 125 QM125T 10D, Jonway RS 1100, Jonway Torino 125, Daelim Delfino 125, Aprilia SR 50 LC ZD4MZ Minarelli, Baotian BT49QT-2 Big Panther 50, Yamaha Neo´s 50, Daelim Otello 125, Aprilia Gulliver 50 AC, Aprilia Sonic 50 AC, Aprilia Rally 50 AC, Sundiro XDZ 50 A Phoenix, Yamaha WHY 50 Die Ersatzteile dieses Herstellers haben sich seit Jahren im täglichen Einsatz bewährt. Durch beständigen Erfahrungsaustausch wird die Qualität auf ein Maximum angehoben.Erstausrüsterqualität beste Verarbeitung Lagerware günstiger Preis Direktimport sofort versandbereit Kauf vom GroßvertreiberUnsere Ersatzteile für ihren Scooter bzw. Motorroller oder auch Roller können Sie bequem online in unserem Shop kaufen. Egal ob sie Ihren Roller im Baumarkt oder im Kaufhaus gekauft haben, für alle gängigen China-, Europa-, oder Taiwan-Roller finden Sie bei uns passende Bauteile, insbesondere für die Motoren 50 cc, 125 cc, 250 ccm, 4-Takt, 2-Takt und für größere Leistungen. Speziell für die Motorentypen 157QMJ, 158MJ ,164FML ,125-4T6M ,139QMB, 139QMA, JSD139QMB ,150QMG ,139FMB , GY6 ,152QMI, 157QMI ,1E40QMB, 1E40QMA ,153FMI, 156FMI in kurzen und langen Versionen in den Normen Euro1, Euro2, Euro3 sowie die neuen Euro 4 Einspritzer-Motoren finden Sie qualitativ hochwertige Ersatzteile. Gerne können Sie auch per Email nach Ersatzteilen anfragen. Bei Bestellwerten über 100 Euro können Sie auch unseren Ratenkauf- bzw. Finanzierungs-Service nutzen. Beim Kauf von Fahrzeugen können wir Ihnen auch ein Leasing-Angebot unterbreiten, das bietet sich insbesondere für Firmen an, die Betriebsfahrzeuge anschaffen, oder ihren Mitarbeitern ein Fahrzeug zur Verfügung stellen. Bitte fragen Sie an. Ein Element ist kaputt - soll es repariert oder besser gleich ersetzt werden?Wird mal irgendetwas am Roller fehlerhaft, dann hat man allgemein zwei Möglichkeiten: instand setzen oder Austauschen. Da ist es unerheblich, ob es sich dabei um einen gleichgültig, ob sich um einen Elektroroller beziehungsweise E-Roller, Motorroller oder 3-Rad Roller dreht. Ein Ersatzbauteil, das verhältnismäßig schnell ausgetauscht werden kann, ist nicht nur kostengünstiger, sondern bietet zudem eine beträchtlich größere Ausfallsicherheit als nach einer Reparatur des Rollers. Die Ursache einer Funktionsstörung lässt sich oft nur von einem Fachmann mittels Spezialwerkszeugen feststellen. Bestellen Sie doch am besten sofort eines unserer fertigen Einbau-Kits, welche wir in vielen diversen Ausführungen im Produktangebot haben. .Bei uns stimmen Qualität und PreisDie Qualität unserer Ersatzteile braucht keine Mitbewerber auf dem Weltmarkt zu befürchten. Aus welchem Grund sind wir trotz der hohen Qualität unserer Produkte so günstig? Das liegt nicht allein an unserer Preisgestaltung, sondern vorrangig daran, dass wir unsere Ersatzteile in großen Mengen beziehen. Alle verfügbaren Bauteile für Ihr motorisiertes Zweirad können Sie bei über unseren Online-Shop sowohl in guter Qualität als auch zu einem Preis bestellen, der mit Sicherheit Ihre Laune verbessert.Sie suchen für einen Sundiro oder Eppella Roller ein Bauteil? Keine Sorge, wir haben sie verfügbar.Wir haben selbstverständlich auch die Originalteile zahlreicher Rollerproduzenten auf Lager, obgleich unsere Nachbauten mit den Originalen qualitativ durchaus mithalten können und trotzdem vom Preis her größtenteils um einiges kostengünstiger sind. Ganz egal, ob Sie die Reparatur an Ihrem Motorroller selber durchführen wollen oder besser in einer Werkstatt ausführen lassen möchten, in jedem Fall liegen Sie mit unseren Produkten ganz und gar richtig. Vermutlich gibt es keine bessere Alternative, in Verbindung mit der Reparatur Ihres Rollers, um eine Menge Geld zu sparen.Produktbilder erleichtern das Auffinden des richtigen ZubehörsIn unserem Shop finden Sie zahlreiches Bildmaterial, das Ihnen eine wertvolle Hilfe ist, Ihr defektes Austauschteil ganz bequem mit dem erhältlichen Ersatz zu vergleichen. Auf diese Weise können Falsch- oder Fehllieferungen infolge inkorrekter Bestellungen schon im Vorhinein ausgeschlossen werden. Entscheidend ist hier, dass Ihre Bestellung nicht nur visuell, sondern auch in den technischen Spezifikationen und Maßen mit der schadhaften Komponente zusammenpasst.Auf welche Weise Sie davon profitieren:Kurze LieferzeitenSie erhalten von uns ohne Ausnahme die Erstausrüsterqualität - auch bei preiswerten NachbautenISO-zertifizierte PräzisionsfertigungTeile und Artikel für ungefähr 250 Marken und 8500 Modelle auf LagerSie bezahlen bei Bestellung mehrerer Einbauelemente mit denselben Versandkriterien nur einmal den VersandWir holen und bringen Ihren RollerDurch unsere "Geld zurück" - Garantie kaufen Sie ohne RisikoRoller-Ankauf zu fairen PreisenAbsolute Verkehrssicherheit des Zweirads, insbesondere bei den BremsenUnsere sämtlichen Ersatzteile sind kostengünstig, ausfallsicher sowie gebrauchstauglichWir sind der erste Ansprechpartner, wenn es um die Anschaffung von einem Roller, Fun-Fahrzeug, Buggy oder Quad geht. Weswegen sollten Sie sich an uns wenden? Weil wir uns in diesem Geschäftsbereich schon seit Jahrzehnten etabliert haben und Sie demzufolge von unserem Erfahrungsschatz profitieren können. Wir betreiben nicht nur unser Geschäft rund um die Motorroller, wir leben es förmlich.Weil Kaufen auch Vertrauenssache ist, sollte man sich deshalb den bevorzugten Fachhändler vorab genau angucken, bei dem man vorhat ein Zweirad zu erwerben. Bei uns ist alles rund um unseren Fachhandel transparent! Sie dürfen gerne jederzeit bei uns vorbeikommen und sich selber ein Bild machen.Das was Sie dort sehen, wird Sie ohne Zweifel überzeugen.Ist Ihnen die Entfernung zu uns zu weit? Dann informieren Sie sich doch mittels der diversen Ebay Bewertungen und des Trustedshops-Siegels. Die Beurteilungen von Trustedshops sind in der Regel nicht nur sehr aussagekräftig, sondern auch vollkommen wertneutral. Sowohl der Verkaufsshop auf unserer Verkaufsseite Motorroller.de als auch unsere Geschäftspraxis wurden von dieser Einrichtung bisher durchgehend mit "sehr gut" bewertet. Der Wert von circa 99,9 Prozent bei Ebay in den Kundenrezensionen kann sich gleichermaßen sehen lassen. Veranschaulichen diese Resultate nicht klar und deutlich, dass unsere Kunden bestens bei uns aufgehoben sind?Bedenken Sie aber, dass dort wo gearbeitet wird, auch Fehler passieren. Demzufolge bitten wir Sie, wenn mal etwas nicht so gut gelaufen ist, uns auf jeden Fall die Möglichkeit zur Verbesserung zu geben.Unser Fachgeschäft hat für Sie geöffnet: jeden Tag von 8:00 - 18:00 Uhr, am Samstag von 9:00 - 13:00 Uhr.Unser Unternehmen stellt sich vorBei uns ist der Kunde noch König. Vor über 50 Jahren begann unser Unternehmen mit dem Maschinenbau, während das Geschäft mit motorisierten Zweirädern inzwischen auch schon seit mehr als 25 Jahren Erfolg versprechend ausgebaut werden konnte. Gegenwärtig haben wir uns zusammen mit der Vermarktung von Rollern, auf Einbauteile, das "Nice-to-have" zur Leistungssteigerung und Zubehör festgelegt.Wir können kurzfristig mehr als 500.000 Einbauteile liefernWer auf der Suche nach einem preisgünstigen Fahrzeug oder der richtigen Komponente für seinen fahrbaren Untersatz ist, der findet bei uns unter Motorroller.de bestimmt das entsprechende Element. In unserem Auslieferungslager warten passende Produkte als Zubehör, Artikel und Teile für rund 250 Marken und 8500 Modelle auf Ihre Bestellung. Adly, Jonway, Yamaha oder Kreidler gehören beispielsweise zu unseren Anbietern, mit denen wir schon jahrelang zusammenarbeiten. Auf einer Fläche von über 1.000 m² haben wir in unserem Hochregallager mehr als 500.000 Produkte unterschiedlicher Anbieter sofort lieferbar. Unsere Zubehörabteilung bietet folglich alles, was man als Rollerfahrer benötigt.Das beginnt beim Top Case über die Windschilder und den Schutzhelmen, und geht bis hin zu Regensets, Nierengürteln und Handschuhen.Selbst Tuningfans kommen bei uns nicht zu kurz. Zum Tunen ihres motorisierten Zweirads finden sie in unserer Tuningabteilung alles was das Herz begehrt, wie etwa Auspuffanlagen, Zylinder, Kolben und weitere Dinge.Was geschieht nach erfolgter Produktion?Laufende Qualitätsprüfungen sind die Leidenschaft unseres Hauses. Dies bedeutet, bevor wir einen Motorroller in die Hände des Kunden geben, wird er von uns nochmals auf tadellose Funktion und Mängelfreiheit durchgecheckt. Wir packen erstmal jedes Fahrzeug nach der Ankunft in unserem Haus aus und unterziehen es auf unserem computergesteuerten Prüfstand einem Probelauf. Unmittelbar nach der Lieferung zum Käufer wird dann der Roller letztlich abermals auf korrekte Funktion gecheckt, sodass de facto garantiert ist, dass der Kunde ein 100-prozentig korrektes Gefährt bekommt.UmweltschutzWas uns sehr am Herzen liegt, ist ein wirkungsvoller Umweltschutz. Zum einen sind unsere Zweiräder prinzipiell mit effizienten Motoren bestückt. Ohne Frage nehmen wir im Sinne einer sauberen Umwelt jegliches Verpackungsmaterial wieder mit, welches bei der Anlieferung unserer Fahrzeuge anfällt und führen es einer fachgerechten Abfallentsorgung zu.Roller-AnkaufSie haben vor, sich bei uns einen neuen Roller zu kaufen und sich gleichzeitig von Ihrem ausgedienten fahrbaren Untersatz trennen? Keine Sorge! Lassen Sie das unser Problem sein, denn wir nehmen Ihren alten Motorroller in Zahlung.Nach wie vor skeptisch?Geben Sie uns doch die Gelegenheit, unsere fachlichen Qualitäten zu beweisen. Man darf uns nicht mit den zahlreichen billigen Verkaufsshops, die heute kommen und morgen bereits wieder fort sind, verwechseln. Ausschließlich hinsichtlich fortschrittlicher Innovationen und neuer Ideen lässt sich eine solide geschäftliche Grundlage schaffen. Demzufolge steht in unserem stetig wachsenden Unternehmen Anpassung an neue Technologien und fortwährendes Lernen stets an erster Stelle. Wenn für Sie mal die Möglichkeit besteht, einen Abstecher nach Lindenfels-Eulsbach machen zu können, können Sie die Gelegenheit nutzen, sich persönlich von unserem vortrefflichen Kundenservice in unserem Betrieb zu überzeugen.Wo wir zu Hause sindLindenfels liegt zirka 60 km im Süden von Frankfurt/Main und 40 km nordöstlich von Mannheim im Odenwald (Regierungsbezirk Darmstadt). Alternativ ist es ohne Frage auch möglich, mit der Bahn anzureisen.Unsere TopmarkenUnsere Topmarken

Verkaufspreis:
Verfügbar
6,95 € Regulärer Preis: 7,99 €
Rabatt
AGM Rollenkernsatz Variomatikgewichte Variorollen R100410680 Motorroller.de Variogewichte Variomatikrollen Scooter Ersatzteil Service Inpektion
AGM Rollenkernsatz Variomatikgewichte Variorollen R100410680 Motorroller.de Variogewichte Variomatikrollen Scooter Ersatzteil Service Inpektion

zu Artikel: Rollenkernsatz 6.8 Gramm R100410680 Rollenkernsatz 6.8 GrammTechnik-InfoRollenkernsatzRollenkernsatz, Fliehkraftrollen -Set -Satz -Kit, Fliehgewicht -Set -Satz -Kit, Rollenkerne -Set -Satz -Kit, Ausgleichsgewichtrollen, Variomatikrollen, Variorollen, Variomatikgewichte, Variogewichte, Rollenkern-Satz, Flieh-Gewichte, Fliehkraft-Rollen, Rollen-Kerne, Variomatik-Rollen, Vario-Rollen, Variomatik-Gewichte, Vario-Gewichte Fiehkraftrollen, auch Fliehgewichte, Variomatikgewichte, Variomatikrollen, Fliehgewichte, Regelrolle, Rollenkerne, genannt. Was für Gewichte bei Ihnen verwendet werden müssen, hängt von den bisher gefahrenen Gewichte ab und ob sich der Roller im Originalzustand befindet, bzw. ob er technisch verändert wurde. Wir raten die alten Gewichte, wenn Sie sich nicht sicher sind, zu wiegen und zu vermessen. Die Gewichte der Variomatik unterliegen beim Fahren einem permanenten Verschleiß. Durch die Fliehkraft bei steigender Motordrehzahl gleiten die Gewichte im Variator in ihrer Laufbahn nach außen und verschieben damit den Variator und verschalten somit die Übersetzung. Die Auflagefläche der Gewichte ist recht klein , sie bekommen nach einigen Tausend Kilometern Abplattungen und müssen somit ersetzt werden, da sonst ein schlechtes Schaltverhalten und später ein Schaden am Variator die Folge wären.Geprüfte Erstausrüsterqualität sehr gute Verarbeitung günstiger Preis Direktimport Kauf 100% ohne Risiko vom TopsellerUnsere Ersatzteile für ihren Motorroller bzw. Roller oder auch Scooter können Sie bequem online in unserem Shop kaufen. Egal ob sie Ihren Roller im Kaufhaus oder im Baumarkt gekauft haben, für alle gängigen Taiwan-, Europa-, oder China-Roller finden Sie bei uns passende Bauteile, insbesondere für die Motoren 50 cc, 125 cc, 250 ccm, 2takt, 4takt und für größere Leistungen. Speziell für die Motorentypen 1E40QMB, 1E40QMA ,139FMB ,150QMG ,153FMI, 156FMI ,164FML ,139QMB, 139QMA, JSD139QMB ,152QMI, 157QMI ,125-4T6M ,157QMJ, 158MJ , GY7 in kurzen und langen Versionen in den Normen Euro1, Euro2, Euro3 sowie die neuen Euro 4 Einspritzer-Motoren finden Sie qualitativ erstklassige Ersatzteile. Gerne können Sie auch per Email nach Ersatzteilen anfragen. Bei Bestellwerten über 100 Euro können Sie auch unseren Ratenkauf- bzw. Finanzierungs-Service nutzen. Beim Kauf von Fahrzeugen können wir Ihnen auch ein Leasing-Angebot unterbreiten, das bietet sich insbesondere für Firmen an, die Betriebsfahrzeuge anschaffen, oder ihren Mitarbeitern ein Fahrzeug zur Verfügung stellen. Wir freuen uns auf Ihre Anfrage.

Verkaufspreis:
Verfügbar
21,29 € Regulärer Preis: 24,48 €