Zum Hauptinhalt springen Zur Suche springen Zur Hauptnavigation springen
Menü
efr
erf
rrrf
Schnell lieferbar
14 Tage Rückgaberecht
Schneller DPD Versand

zu Artikel: Halteblech 90631

Technik-Info

Halteblech

Halteblech, Halterung, Halteelement, Halter, Befestigungsblech, Metallbügel

Die Marke Rex ist eine der meistverkauften in Deutschland. Durch ständige Qualitätskontrollen vorort beim Hersteller ist ein hoher Standard gewährleistet.

Kostenloser Versand   Bei Ersatzteilen für jeden zusätzlichen Artikel mit den gleichen Versandkriterien, den Sie von uns kaufen.

Für ihren Roller bzw. Motorroller oder auch Scooter können Sie die Ersatzteile bequem online in unserem Shop kaufen. Egal wo sie Ihren Roller gekauft haben, Sie finden die passenden Ersatzteile in unserem Shop. Besonders für alle gängigen Europa-, China-, oder Taiwan-Roller haben wir passende Bauteile, vor allem für die Motoren 50 cc, 125 cc, 250 ccm, 2takt, 4takt und für größere Leistungen. Die Motorentypen 139QMB, 139QMA, 1E40QMB, 152QMI, 157QMI, GY6, 125-4T6M, 139FMB, 153FMI, 156FMI, 157QMJ, 158MJ, 164FML, 1E40QMA, JSD139QMB, 150QMG in kurzen und langen Versionen in den Normen Euro1, Euro2, Euro3 sowie die neuen Euro 4 Einspritzer-Motoren sind meist in diesen Modellen verbaut, und bei uns finden Sie qualitativ hochwertige Ersatzteile. Wenn Sie mal was nicht finden können Sie auch per Email nach Ersatzteilen anfragen. Ab Bestellwerten über 100 Euro bieten wir Ihnen unseren Finanzierungs- bzw. Ratenkauf-Service an. Beim Kauf von Fahrzeugen besteht die Möglichkeit der Finanzierung oder des Leasings. Speziell für Firmen, die Betriebsfahrzeuge anschaffen, oder ihren Mitarbeitern ein Fahrzeug zur Verfügung stellen, ist die eine interessante Alternative.

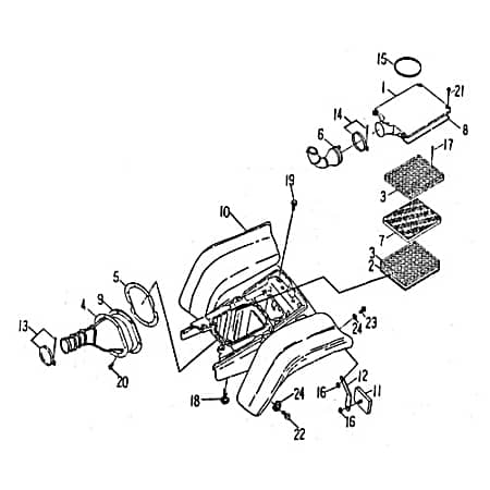
Baugruppe: Motor

Artikelposition in Explosionszeichnung: 4

Ersatzteil: Luftfilter

Motorroller bequem online kaufen – von der Bestellung bis zur Lieferung


Mobiler Home Service – Bundesweit Inspektionen und Reparaturen


Motorroller.de – Über uns – Ihr Support vom Profi seit 1993

Ihr Finanzierungsplan**
Monate Rate mtl. Gesamt
6039,67 €2.380,49 €
12157,59 €1.891,14 €

Einfach im Bestellvorgang die Expokredit-Finanzierung als Zahlungsweise auswählen ...

  • Barossa Cheetah 250
  • Kreidler Mustang 170
  • Kreidler Mustang 200
  • Kreidler Mustang 250
  • Rex Quad 150
  • Rex Quad 250
  • SMC STM Quad 150
  • SMC STM Quad 170
  • SMC STM Quad 200
  • SMC STM Quad 250
Produktgalerie überspringen

Kunden haben sich ebenfalls angesehen

Rabatt
Halteplatte 150ccm 4Takt Rex Quad 150 Halter Fixierung 90632 Motorroller.de Stahlplatte Montageschiene Halterung Montageplatte Grundplatte ATV Offroad
Halteplatte 150ccm 4Takt Rex Quad 150 Halter Fixierung 90632 Motorroller.de Stahlplatte Montageschiene Halterung Montageplatte Grundplatte ATV Offroad

zu Artikel: Platte 90632 Technik-InfoPlatteHalteplatte, Arretierplatte, Sicherungsblech, Halteblech, Fixierung, Halter, Befestigungsplatte, Halterung, Arretier-Platte, Halte-Platte, Halte-Blech, Sicherungs-Blech, Halterungsplatte, Fixierplatte, Fixier-Platte, Befestigungs-Platte, Arretierblech, Fixierblech, Platte, Grundplatte, Stahlplatte, Metallplatte, Montageplatte, Montierplatte, Montageschiene Abdeckungen dienen meist dem Schutz vor Schmutz und Nässe im Betrieb.Die Marke Rex ist eine der meistverkauften in Deutschland. Durch ständige Qualitätskontrollen vorort beim Hersteller ist ein hoher Standard gewährleistet.Kostenloser Versand   Bei Ersatzteilen für jeden zusätzlichen Artikel mit den gleichen Versandkriterien, den Sie von uns kaufen.Unsere Ersatzteile für ihren Motorroller bzw. Roller oder auch Scooter können Sie bequem online in unserem Shop kaufen. Egal ob sie Ihren Roller im Kaufhaus oder im Baumarkt gekauft haben, für alle gängigen Taiwan-, Europa-, oder China-Roller finden Sie bei uns passende Bauteile, insbesondere für die Motoren 50 cc, 125 cc, 250 ccm, 2-Takt, 4-Takt und für größere Leistungen. Speziell für die Motorentypen GY6 ,150QMG ,153FMI, 156FMI ,125-4T6M ,164FML ,152QMI, 157QMI ,139FMB ,139QMB, 139QMA, JSD139QMB ,157QMJ, 158MJ ,1E40QMB, 1E40QMA in kurzen und langen Versionen in den Normen Euro1, Euro2, Euro3 sowie die neuen Euro 4 Einspritzer-Motoren finden Sie hochqualitative Ersatzteile. Gerne können Sie auch per Email nach Ersatzteilen anfragen. Bei Bestellwerten über 100 Euro können Sie auch unseren Ratenkauf- bzw. Finanzierungs-Service nutzen. Beim Kauf von Fahrzeugen können wir Ihnen auch ein Leasing-Angebot unterbreiten, das bietet sich insbesondere für Firmen an, die Betriebsfahrzeuge anschaffen, oder ihren Mitarbeitern ein Fahrzeug zur Verfügung stellen. Bitte fragen Sie an.

Verkaufspreis:
Nicht verfügbar
7,69 € Regulärer Preis: 8,84 €
Rabatt
Buchse 17x25x36mm Hinterrad Rex RS750 Hülse 701858 Motorroller.de Distanzhülse Lagerbuchse Distanz-Hülse Distanzbuchse Passhülse Passbuchse
Buchse 17x25x36mm Hinterrad Rex RS750 Hülse 701858 Motorroller.de Distanzhülse Lagerbuchse Distanz-Hülse Distanzbuchse Passhülse Passbuchse

zu Artikel: Buchse 17x25x36mm Hinterrad Buchse Buchse 17x25x36mm Hinterrad Technik-Info Der Artikel: Buchse Arretierungshuelse, Passhuelse, Passhülse, Arretierbuchse, Arretierhülse, Arretierhuelse, Distanzbuchse, Distanzhülse, Distanzhuelse, Buchse, Hülse, Huelse, Abstandshülse, Abstandshuelse, Abstandsbuchse, Distanz-Buchse, Distanz-Hülse, Distanz-Huelse, Arretier-Buchse, Arretier-Hülse, Arretier-Huelse, Passbuchse, Lagerbuchse, Arretierungshülse Buchsen sind Standard-Bauteile, an denen oder mit denen andere Fahrzeug- oder Maschinenbauteile befestigt werden. Auch hier ist darauf zu achten, dass die Dimension und die Stahl-Beschaffenheit für die jeweilige Aufgabe / Funktion entsprechend ausgelegt ist. Wir liefern immer die passenden Bolzen in Erstausrüster-Qualität. Dieser Artikel passt bei vielen Modellen, unter anderem für: Kreidler Hiker 125, Kreidler MONACO 125, Kreidler REX Monaco 125 Race/Urban, Rex Hiker 50 City DD, Rex Imola 125, Rex Imola 125 Race/Urban, Rex Imola 50, Rex Imola 50 Race/Urban, Rex Milano 125, Rex Milano 50, Rex Monaco 125, Rex Monaco 125 Race Urban, Rex RMC-E HIKER 125 DD SPORT, Rex RS 1000, Rex RS 1100, Rex RS 750, Rex Torino 125 Unsere Ersatzteile für ihren Scooter bzw. Roller oder auch Motorroller können Sie bequem online in unserem Shop kaufen. Egal ob sie Ihren Roller im Baumarkt oder im Kaufhaus gekauft haben, für alle gängigen Taiwan-, China-, oder Europa-Roller finden Sie bei uns passende Bauteile, insbesondere für die Motoren 50 cc, 125 cc, 250 ccm, 2takt, 4takt und für grössere Leistungen. Speziell für die Motorentypen 139QMB, 139QMA, JSD139QMB ,157QMJ, 158MJ , GY6 ,139FMB ,164FML ,153FMI, 156FMI ,1E40QMB, 1E40QMA ,152QMI, 157QMI ,150QMG ,125-4T6M in kurzen und langen Versionen in den Normen Euro1, Euro2, Euro3 sowie die neuen Euro 4 Einspritzer-Motoren finden Sie qualitativ erstklassige Ersatzteile. Gerne können Sie auch per Email nach Ersatzteilen anfragen. Bei Bestellwerten über 100 Euro können Sie auch unseren Finanzierungs- bzw. Ratenkauf-Service nutzen. Beim Kauf von Fahrzeugen können wir Ihnen auch ein Leasing-Angebot unterbreiten, das bietet sich insbesondere für Firmen an, die Betriebsfahrzeuge anschaffen, oder ihren Mitarbeitern ein Fahrzeug zur Verfügung stellen. Ihre Anfrage nehmen wir gerne entgegen Soll das schadhafte Teil repariert oder gleich getauscht werden? Wird mal irgendetwas am Roller schadhaft, dann hat man im Prinzip zwei Optionen: Auswechseln oder instand setzen. Was man auch nicht vergessen darf: Ein Ersatzelement ist nicht nur rasch ausgewechselt, sondern macht das Zweirad auch bedeutend funktionssicherer als eine Reparatur. Die Ursache einer Funktionsstörung lässt sich oft nur von einem Fachmann mittels Spezialwerkszeugen orten. In diesem Fall wäre es vernünftiger, bei uns eines der einbaufertigen Komplett-Kits zu bestellen, die wir für zahlreiche diverse Bauteile in unserem Produktangebot haben. . Bauteile von hoher Qualität Grosses Augenmerk legen wir auf qualitativ hochwertige Produkte zu einem attraktiven Preis. Wir können bloss deshalb so günstig sein, weil wir unsere Bauteile in ausreichend grossen Einheiten einkaufen. Sämtliche lieferbaren Komponenten für Ihren Roller können Sie bei über unsere Website sowohl in guter Qualität als auch zu einem Preis bestellen, bei dem keine Wünsche offen bleiben. Auch für Roller, Buggys und Quads, die nicht mehr gefertigt werden, haben wir normalerweise die Einbauteile vorrätig. So zum Beispiel für die Marken Eppella und Sundiro. Sie erhalten bei uns logischerweise auch die Originalteile vom Fahrzeughersteller. Für den Fall, dass Sie hingegen Geld sparen wollen [und wer möchte das nicht], sollten Sie auf unsere Nachbauten zurückgreifen, welche übrigens einen qualitativen Vergleich zum Erstausrüster- Produkt nicht zu scheuen brauchen, obwohl sie allgemein deutlich preisgünstiger sind. Mit unseren Ersatzteilen können Sie die Instandsetzung Ihres motorisierten Zweirads selber bewerkstelligen oder auch in einer Werkstatt ausführen lassen. Vermutlich gibt es keine bessere Alternative, im Zusammenhang mit der Reparatur Ihres Zweirads, um eine Menge Geld zu sparen. Eine grosse Hilfe bei der Bestellung der passenden Bauteile sind die einzelnen Produktbilder Damit Sie auch wirklich den richtigen Artikel erhalten, existiert auf unserer Seite eine Menge von anschaulichem Bildmaterial, durch das Sie Ihr defektes Teil mit dem erhältlichen Ersatz vergleichen können. Dabei ist es entscheidend, dass das Element, das Sie austauschen möchten, nicht allein visuell, sondern auch in den Spezifikationen und Massen mit Ihrer Bestellung übereinstimmt.   Was Sie davon haben:   "Geld zurück" - Garantie, deshalb Kauf ohne Risiko Kurze Lieferzeiten Wir kaufen Ihr Zweirad Präzisionsfertigung nach DIN-Norm Unser Lager umfasst Teile und Artikel für ca. 250 Marken und 8500 Typen Sie zahlen bei Bestellung mehrerer Einbauelemente mit denselben Versandkriterien nur einmal Versandkosten Alle unsere Erzeugnisse sind gebrauchstauglich, langlebig und preiswert Sie erhalten von uns immer die Erstausrüsterqualität - auch bei preisgünstigen Nachbauten Absolute Verkehrssicherheit des Rollers, vor allem bei Bremsanlagen Hol- und Bringservice Roller, Quads, Strassenbuggys und Fun Fahrzeuge kauft man am besten in einem Fachbetrieb wie den unsrigen. Wozu sollten Sie sich an uns wenden? Weil wir uns in diesem Geschäftsbereich bereits seit Jahrzehnten etabliert haben und Sie deswegen von unserem Erfahrungsschatz profitieren können. Für unseren Familien betrieb ist das Geschäft in Verbindung mit den Rollern der vollständige Lebensinhalt. Da Kaufen Vertrauenssache ist, sollte man sich infolgedessen das ausgewählte Fachgeschäft vorab genau angucken, bei dem man vorhat ein motorisiertes Zweirad zu erwerben. Alles ist in unserem Betrieb transparent und für die Kundschaft nachzuvollziehen! Kommen Sie doch einfach mal bei uns vorbei und informieren Sie sich selbst über uns.Den Beleg unserer Qualität sehen Sie dann direkt vor Ort. Vermutlich ist Ihnen die Strecke zu uns zu weit. Dann gibt es auch die Option, mittels des Trustedshops-Siegels und die verschiedenen Ebay Bewertungen Informationen über uns einzuholen. Beispielsweise wird sowohl unser Shop als auch unsere Geschäftspraxis mit dem Trustedshops Gütesiegel "sehr gut" beurteilt, was uns mit Fug und Recht mit Stolz erfüllt. Unsere Kundenbewertungen bei Ebay liegen mit einem Wert von ca. 99,9 % gleichermassen auf einem ausgezeichneten Level. Veranschaulichen diese Ergebnisse nicht klar und deutlich, dass unsere Kunden bestens bei uns aufgehoben sind? Bitte denken Sie daran: Wir sind auch bloss Menschen, die manchmal etwas falsch machen. Seien Sie deswegen nicht gleich ärgerlich, sofern mal etwas nicht zu 100 Prozent funktioniert hat, sondern geben Sie uns die Möglichkeit, unseren Fehler wieder gut zu machen. Unser Fachgeschäft hat für Sie geöffnet: jeden Tag von 8:00 - 18:00 Uhr, am Samstag von 9:00 - 13:00 Uhr. Wer wir sind Es liegt uns eine Menge an der Zufriedenheit unserer Kundschaft. Das Geschäft mit motorisierten Zweirädern betreiben wir sehr erfolgreich schon seit über 25 Jahren, wollen hierbei jedoch nicht unerwähnt lassen, dass wir bereits mehr als 5 Jahrzehnte auf eine Erfolgsgeschichte auf dem Sektor Maschinenbau zurückblicken können. Wir haben uns inzwischen vorrangig auf Fahrzeugzubehör, das "Nice-to-have" für Tuning und Ersatzelemente für die meisten Roller festgelegt. Unsere Artikelpalette beinhaltet etwa 500.000 Teile Wer auf der Suche nach einem günstigen Fahrzeug oder Einbauteil für seinen fahrbaren Untersatz ist, der findet bei uns unter Motorroller.de bestimmt das entsprechende Element. In unserem Warenlager befinden sich für rund 250 Marken und 8500 Modelle unterschiedliche Einbaukomponenten, Artikel und passendes Zubehör. Darunter befinden sich zum Beispiel so namhafte Lieferanten wie Adly, Yamaha, Kreidler oder Jonway. Wir haben insgesamt zirka 500.000 Produkte von diversen Anbietern im Teilesortiment, welche auf einer Lagerfläche von über 1.000 mò in unseren Regalen auf Lager liegen. Unser Zubehörbereich bietet demnach alles, was man als Rollerfahrer braucht. Das beginnt beim Top Case über die Windschilder und den Schutzhelmen, und geht bis hin zu Regensets, Handschuhen und Nierengürteln.In unserem Tuningbereich halten wir für alle, die es lieber sportlich mögen ebenfalls einige ausgewählte Produkte bereit. Hierzu gehören zum Beispiel Zylinder, Auspuffanlagen, Kolben und dergleichen Dinge. Was geschieht im Anschluss an die Produktion? Kontinuierliche Qualitätskontrolle ist unsere Passion. Das heisst, bevor wir ein Fahrzeug in die Hände des Kunden geben, wird es von uns nochmals auf einwandfreie Funktion und Fehlerfreiheit überprüft. Das erste Mal geschieht das vor dem Versand, indem wir jeden Roller auspacken und auf unserem computergesteuerten Prüfstand einem Testlauf beziehungsweise einer Ãbergabekontrolle unterziehen. Bevor der Käufer den Motorroller übernimmt, erfolgt noch ein abschliessender Funktionscheck. Dadurch ist wirklich garantiert, dass der Kunde mit seinem Erwerb zu hundert Prozent zufrieden ist. Schutz unserer Umwelt Wir sind besonders um den Umweltschutz bemüht. Einerseits sind unsere Zweiräder normalerweise mit Benzin sparenden Motoren ausgestattet. Um die Umwelt zusätzlich zu schonen und eine professionelle Müll-Entsorgung zu gewährleisten, nehmen wir die Transportverpackung wieder mit, welche bei der Auslieferung unserer Roller anfällt. Wir nehmen Ihren ausgedienten Roller in Zahlung Nach dem Kauf eines neuen Rollers aus unserem Fahrzeugangebot möchten Sie sich von Ihrem alten Zweirad trennen? Zerbrechen Sie sich darüber nicht den Kopf! Wir nehmen Ihren ausgedienten Motorroller gerne in Zahlung. Sie sind nach wie vor skeptisch? Wenn wir von Ihnen die Chance dazu erhalten, können wir Ihnen unsere Leistungen auch beweisen. Man darf uns nicht mit den vielen billigen Internet-Shops, verwechseln, die heute kommen und morgen bereits wieder weg sind. In unserem fortwährend wachsenden Unternehmen steht fortwährendes Lernen sowie die Anpassung an neue Technologien an erster Stelle, weil wir wissen, dass sich allein durch neue Ideen und zeitgemässe Innovationen das Know-how für eine gut fundierte geschäftliche Grundlage bilden lässt. Sie können sich selber von unserem vorzüglichen Service überzeugen, wenn Sie uns an unserem Betriebsstandort in Lindenfels-Eulsbach besuchen. Sie finden uns mühelos - auch ohne "Navi" Lindenfels liegt rund 60 km südlich von Frankfurt/Main und 40 km nordöstlich von Mannheim im Odenwald (Regierungsbezirk Darmstadt). Eine Anfahrt per Bahn ist natürlich genauso möglich. Unsere Topmarken Unsere Topmarken Hinweise zu: Buchse

Verkaufspreis:
Verfügbar
6,90 € Regulärer Preis: 7,94 €
Rabatt
Lagerbuchse Federbein 740220 Motorroller.de Gummidämpfer Gummibuchse Lagerhülse Gummihülse
Lagerbuchse Federbein 740220 Motorroller.de Gummidämpfer Gummibuchse Lagerhülse Gummihülse

zu Artikel: Lagerbuchse Federbein 740220 Technik-InfoLagerbuchseLager, Lagerhuelse, Lagerhülse, Lagerbuchse, Lagerring Kostenloser Versand   Bei Ersatzteilen für jeden zusätzlichen Artikel mit den gleichen Versandkriterien, den Sie von uns kaufen.Unsere Ersatzteile für ihren Scooter bzw. Motorroller oder auch Roller können Sie bequem online in unserem Shop kaufen. Egal ob sie Ihren Roller im Kaufhaus oder im Baumarkt gekauft haben, für alle gängigen China-, Europa-, oder Taiwan-Roller finden Sie bei uns passende Bauteile, insbesondere für die Motoren 50 cc, 125 cc, 250 ccm, 4takt, 2takt und für größere Leistungen. Speziell für die Motorentypen 139QMB, 139QMA, JSD139QMB ,164FML ,150QMG ,125-4T6M , GY6 ,152QMI, 157QMI ,139FMB ,153FMI, 156FMI ,157QMJ, 158MJ ,1E40QMB, 1E40QMA in kurzen und langen Versionen in den Normen Euro1, Euro2, Euro3 sowie die neuen Euro 4 Einspritzer-Motoren finden Sie Ersatzteile von hoher Güte. Gerne können Sie auch per Email nach Ersatzteilen anfragen. Bei Bestellwerten über 100 Euro können Sie auch unseren Finanzierungs- bzw. Ratenkauf-Service nutzen. Beim Kauf von Fahrzeugen können wir Ihnen auch ein Leasing-Angebot unterbreiten, das bietet sich insbesondere für Firmen an, die Betriebsfahrzeuge anschaffen, oder ihren Mitarbeitern ein Fahrzeug zur Verfügung stellen. Bitte fragen Sie an.

Verkaufspreis:
Verfügbar
7,22 € Regulärer Preis: 8,30 €
Rabatt
Bundmutter M12x1.25 mit Bund weiß verzinkt AGM 50ccm 4Takt Motorroller.de Sechskantmutter Flanschmutter Sechskant-Mutter Flansch-Mutter Bund-Mutter Premium Flanschmutter weiß verzinkt AGM 50ccm 4Takt
Bundmutter M12x1.25 mit Bund weiß verzinkt AGM 50ccm 4Takt Motorroller.de Sechskantmutter Flanschmutter Sechskant-Mutter Flansch-Mutter Bund-Mutter Premium Flanschmutter weiß verzinkt AGM 50ccm 4Takt

zu Artikel: Technik-InfoMutterFlanschmutter, Maschinenmutter, Sechskantmutter, Flansch-Mutter, Bundmutter, Mutter, Maschinen-Mutter, Sechskant-Mutter, Bund-Mutter ,Rex Bundmutter ,Jonway Bundmutter, AGM Bundmutter , Adly Bundmutter, ATU Bundmutter, Kreidler Bundmutter, Baotian Bundmutter, CPI Bundmutter, Jinan Qinqi BundmutterHier handelt es sich um ein Standard-Ersatzteil in erstklassiger Qualität. Die Teile werden einer ständigen Qualitätssicherung unterzogen, zu Ihrer und unserer Zufriedenheit.Die Ersatzteile dieses Herstellers haben sich seit Jahren im täglichen Einsatz bewährt. Durch beständigen Erfahrungsaustausch wird die Qualität auf ein Maximum angehoben.Kostenloser Versand   Bei Ersatzteilen für jeden zusätzlichen Artikel mit den gleichen Versandkriterien, den Sie von uns kaufen.Unsere Ersatzteile für ihren Scooter bzw. Motorroller oder auch Roller können Sie bequem online in unserem Shop kaufen. Egal ob sie Ihren Roller im Baumarkt oder im Kaufhaus gekauft haben, für alle gängigen Europa-, China-, oder Taiwan-Roller finden Sie bei uns passende Bauteile, insbesondere für die Motoren 50 cc, 125 cc, 250 ccm, 4takt, 2takt und für größere Leistungen. Speziell für die Motorentypen 150QMG ,157QMJ, 158MJ ,139FMB ,152QMI, 157QMI ,164FML ,1E40QMB, 1E40QMA ,139QMB, 139QMA, JSD139QMB , GY6 ,125-4T6M ,153FMI, 156FMI in kurzen und langen Versionen in den Normen Euro1, Euro2, Euro3 sowie die neuen Euro 4 Einspritzer-Motoren finden Sie qualitativ hochwertige Ersatzteile. Gerne können Sie auch per Email nach Ersatzteilen anfragen. Bei Bestellwerten über 100 Euro können Sie auch unseren Ratenkauf- bzw. Finanzierungs-Service nutzen. Beim Kauf von Fahrzeugen können wir Ihnen auch ein Leasing-Angebot unterbreiten, das bietet sich insbesondere für Firmen an, die Betriebsfahrzeuge anschaffen, oder ihren Mitarbeitern ein Fahrzeug zur Verfügung stellen. Wir freuen uns auf Ihre Anfrage."Premium Bundmutter M12x1.25 weiß verzinkt für AGM 50ccm 4Takt mit präzisem Gewinde, sicherem Halt und hoher Korrosionsbeständigkeit.""Die Premium Bundmutter M12x1.25 mit Bund weiß verzinkt für AGM 50ccm 4Takt sorgt für eine sichere und belastbare Verschraubung und überzeugt durch präzise Passform und langlebige Qualität. Das hochwertige Ersatzteil ist ideal für Wartung, Reparatur und Austausch online zu kaufen."

Verkaufspreis:
Verfügbar
2,93 € Regulärer Preis: 3,34 €
Rabatt
Sundiro XDZ 50 A Phoenix Felge hinten 50ccm 2Takt FIG.-0427-NO.-02 Motorroller.de Hinterrad-Felge Hinterradfelge Hinter-Rad Heck-Rad Scooter Service
Sundiro XDZ 50 A Phoenix Felge hinten 50ccm 2Takt FIG.-0427-NO.-02 Motorroller.de Hinterrad-Felge Hinterradfelge Hinter-Rad Heck-Rad Scooter Service

zu Artikel: Hinterradfelge Hinterrad FIG. 0427 NO. 02 HinterradfelgeTechnik-InfoHinterradfelgeFelge hinten, Hinterrad-Felge, Hinterradfelge, Hinter-Rad, Hinterrad, Rad hinten, Alufelge, Heck-Rad Unsere Felgen sind robuste, sehr gute Felgen. Das Material ist sehr hochwertig und die Felgen halten fast immer den härtesten Beanspruchungen stand. Jahrelange Erfahrung ständige Innovation und Qualitätskontrolle sorgen für zufriedene Nutzer.Von Anfang an hat sich dieser Hersteller durch erstklassige Qualität ausgezeichnet.Kostenloser Versand   Bei Ersatzteilen für jeden zusätzlichen Artikel mit den gleichen Versandkriterien, den Sie von uns kaufen.Unsere Ersatzteile für ihren Roller bzw. Motorroller oder auch Scooter können Sie bequem online in unserem Shop kaufen. Egal ob sie Ihren Roller im Baumarkt oder im Kaufhaus gekauft haben, für alle gängigen Europa-, China-, oder Taiwan-Roller finden Sie bei uns passende Bauteile, insbesondere für die Motoren 50 cc, 125 cc, 250 ccm, 2-Takt, 4-Takt und für größere Leistungen. Speziell für die Motorentypen 139FMB ,1E40QMB, 1E40QMA ,150QMG ,153FMI, 156FMI ,125-4T6M , GY6 ,152QMI, 157QMI ,164FML ,139QMB, 139QMA, JSD139QMB ,157QMJ, 158MJ in kurzen und langen Versionen in den Normen Euro1, Euro2, Euro3 sowie die neuen Euro 4 Einspritzer-Motoren finden Sie Ersatzteile von hoher Qualität. Gerne können Sie auch per Email nach Ersatzteilen anfragen. Bei Bestellwerten über 100 Euro können Sie auch unseren Ratenkauf- bzw. Finanzierungs-Service nutzen. Beim Kauf von Fahrzeugen können wir Ihnen auch ein Leasing-Angebot unterbreiten, das bietet sich insbesondere für Firmen an, die Betriebsfahrzeuge anschaffen, oder ihren Mitarbeitern ein Fahrzeug zur Verfügung stellen. Wir freuen uns auf Ihre Anfrage.

Verkaufspreis:
Verfügbar
65,85 € Regulärer Preis: 75,73 €
Rabatt
Kreidler Martinique 125 Ansaugschlauch 125ccm 4Takt 31180411 Motorroller.de Unterdruckschlauch Ansaugstutzen Ansaugrohr Vakuumschlauch Saugleitung
Kreidler Martinique 125 Ansaugschlauch 125ccm 4Takt 31180411 Motorroller.de Unterdruckschlauch Ansaugstutzen Ansaugrohr Vakuumschlauch Saugleitung

zu Artikel: UnterdruckschlauchAnsaugschlauch Technik-Info Unterdruckschlauch Ansaugschlauch, Ausaugleitung, Ansaugstück, Ansaugrohr, Ansaugstueck, Ansaugstutzen, Ansaug-Schlauch, Ansaug-Rohr, Ansaug-Leitung, Ansaug-Stück, Ansaug-Stueck, Ansaug-Stutzen, Ansauggummi, Verbindungsstück, Verbindungsstueck, Unterdruckschlauch, Gummischlauch, Schlauch, Vakuumschlauch, Saugschlauch Der Unterdruckschlauch, Schlauch oder Gummischlauch genannt, wird am Benzinhahn befestigt. Er ist aufquellbeständig, gegen Mineralöle und Kraftstoffe. Einfach austauschen. Die Ersatzteile dieses Herstellers haben sich seit Jahren im täglichen Einsatz bewährt. Durch beständigen Erfahrungsaustausch wird die Qualität auf ein Maximum angehoben. Kostenloser Versand   Bei Ersatzteilen für jeden zusätzlichen Artikel mit den gleichen Versandkriterien, den Sie von uns kaufen. Unsere Ersatzteile für ihren Motorroller bzw. Roller oder auch Scooter können Sie bequem online in unserem Shop kaufen. Egal ob sie Ihren Roller im Baumarkt oder im Kaufhaus gekauft haben, für alle gängigen China-, Europa-, oder Taiwan-Roller finden Sie bei uns passende Bauteile, insbesondere für die Motoren 50 cc, 125 cc, 250 ccm, 4-Takt, 2-Takt und für größere Leistungen. Speziell für die Motorentypen 125-4T6M ,139QMB, 139QMA, JSD139QMB ,150QMG ,139FMB , GY6 ,152QMI, 157QMI ,1E40QMB, 1E40QMA ,153FMI, 156FMI ,157QMJ, 158MJ ,164FML in kurzen und langen Versionen in den Normen Euro1, Euro2, Euro3 sowie die neuen Euro 4 Einspritzer-Motoren finden Sie Ersatzteile von bewährter Qualität. Gerne können Sie auch per Email nach Ersatzteilen anfragen. Bei Bestellwerten über 100 Euro können Sie auch unseren Ratenkauf- bzw. Finanzierungs-Service nutzen. Beim Kauf von Fahrzeugen können wir Ihnen auch ein Leasing-Angebot unterbreiten, das bietet sich insbesondere für Firmen an, die Betriebsfahrzeuge anschaffen, oder ihren Mitarbeitern ein Fahrzeug zur Verfügung stellen. Bitte fragen Sie an. Tauschen oder reparieren - was ist die günstigere Option?Geht mal irgendetwas am Motorroller kaputt, dann hat man im Regelfall zwei Möglichkeiten: Reparieren oder Austauschen. Da ist es unerheblich, ob es sich dabei um einen gleichgültig, ob sich um einen 3-Rad Roller, Elektroroller respektive E-Roller oder Motorroller dreht. Woran man auch denken sollte: Ein neues Element ist nicht nur problemlos ersetzt, sondern macht das Zweirad auch bedeutend ausfallsicherer als eine Instandsetzung. Oft kann bloß eine qualifizierte Werkstatt den Schaden auf Anhieb orten. Eine gute Alternative wäre es in einem solchen Fall, eines unserer einbaufertigen Ersatzteil-Kits, die wir für zahlreiche unterschiedliche Fabrikate im Programm haben, zu ordern. .Für Ihren Roller - hochwertige QualitätDie Qualität unserer Ersatzteile braucht auf dem Weltmarkt keine Mitbewerber zu fürchten. Wir können bloß deshalb so günstig sein, weil wir unsere Teile in ausreichend großen Stückzahlen einkaufen. Sämtliche lieferbaren Teile für Ihren Motorroller können Sie bei über unsere Internet-Seite sowohl in guter Qualität als auch zu einem Preis ordern, der keine Wünsche offen lässt. Auch für Motorroller, Quads und Buggys, die nicht mehr produziert werden, haben wir im Regelfall die Zubehörteile lieferbar. So z.B. für die Marken Eppella und Sundiro.Wir haben logischerweise auch die Originalteile vieler Rollerproduzenten auf Lager, obgleich unsere Nachbauten mit den Originalen qualitativ ohne weiteres mithalten können und dennoch vom Preis her im Allgemeinen um einiges preisgünstiger sind. Sie können mit unseren Produkten die Instandsetzung Ihres fahrbaren Untersatzes entweder selber durchführen oder in einer Fachwerkstatt ausführen lassen. Es gibt zweifelsohne keine bessere Alternative, durch die Sie zu bezahlbaren Kosten und in vorzüglicher Qualität Ihren fahrbaren Untersatz instand setzen können.Bilder erleichtern das Ordern des richtigen ZubehörsDamit Sie auch de facto den dringend benötigten Artikel erhalten, finden Sie in unserem Shop eine Menge von entsprechendem Bildmaterial, durch das Sie Ihr defektes Austauschteil mit dem erhältlichen Ersatz vergleichen können. Dabei reicht nicht alleinig eine visuelle Ähnlichkeit. Es müssen unter anderem sowohl die aufgeführten Abmessungen als auch die deklarierten Spezifikationen zusammenpassen. Ihre Vorteile:Dank unserer "Geld zurück" - Garantie kaufen Sie ohne RisikoSie zahlen nur einmal Versandkosten bei Bestellung mehrerer Teile mit identischen LiefervoraussetzungenAbhol- und BringserviceAlle unsere Erzeugnisse sind kostengünstig, zuverlässig sowie betriebssicherDIN-Norm gerechte und ISO-zertifizierte PräzisionsfertigungEinbauteile und Zubehör für ca. 250 Marken und 8500 Typen auf LagerRoller-Ankauf zu fairen Preisen100-prozentige Verkehrssicherheit des Rollers, besonders bei den BremsenSie bekommen von uns stets die Erstausrüster-Qualität - auch bei günstigen NachbautenUnsere Lieferungen erfolgen überwiegend kurzfristigRoller, Straßenbuggys, Quads und Fun Fahrzeuge kauft man am besten in einem Fachbetrieb wie den unsrigen. Welchen Vorteil haben Sie von unserem Service? Weil wir durch unsere jahrzehntelange Erfahrung das nötige Know-how für diesen Geschäftsbereich besitzen, können wir Ihnen einen optimalen Service bieten. Wir betreiben nicht bloß unser Geschäft rund um die Roller, wir leben es buchstäblich. Kaufen ist Vertrauenssache, daher ist es nötig, sich den Laden vorher genau anzusehen. in unserem Geschäft ist alles uneingeschränkt nachvollziehbar! Kommen Sie doch einfach mal in unserem Ladengeschäft vorbei und informieren Sie sich selbst über uns.Den Vertrauensnachweis bekommen Sie dann vor Ort praktisch schwarz auf weiß.Eventuell ist Ihnen die Anfahrtsstrecke zu uns zu weit. Dann gibt es auch die Option, mittels des Trustedshops-Siegels und die zahlreichen Ebay Bewertungen Informationen über uns einzuholen. Die Benotungen von Trustedshops sind prinzipiell nicht nur hundertprozentig wertneutral sondern auch überaus aussagekräftig. Sowohl der Verkaufsshop auf unserer Webseite Motorroller.de als auch unsere Geschäftspraxis wurden von dieser Einrichtung bisher durchgehend mit "sehr gut" eingestuft. Der Bewertungsfaktor von zirka 99,9 Prozent bei Ebay in den Käuferbewertungen kann sich gleichfalls sehen lassen. Was belegen all diese Resultate ganz offensichtlich? Dass wir auf allen Gebieten stets geben!! Bitte denken Sie daran, dass wir keine Maschinen sondern auch nur Menschen sind, denen gelegentlich etwas daneben gehen kann. Wenn also etwas nicht zu Ihrer Zufriedenheit funktioniert hat, bitten wir Sie, uns die Möglichkeit zu geben, die Sache in Ordnung zu bringen.Zu welchen Zeiten wir Ihnen zu Diensten stehen? Täglich von 8:00 bis 18:00 Uhr und am Samstag von 8:00 bis 13:00 Uhr.Seit vielen Jahren im Dienst unserer KundenBei uns ist der Kunde noch König. Mehr als 25 Jahre ist unser Unternehmen mit Erfolg im Fahrzeuggeschäft tätig, wobei wir uns allerdings schon vor über 5 Jahrzehnten auf dem Gebiet des Maschinenbaus erfolgreich etabliert haben. Unser Fokus ist mittlerweile auf den Verkauf von Einbauteilen, Zubehör und das "Must have" zum Tunen für die meist gefahrenen Motorroller ausgerichtet.Unser Sortiment umfasst etwa 500.000 TeileWer auf der Suche nach einem günstigen motorisierten Zweirad oder Teil für seinen fahrbaren Untersatz ist, der findet bei uns unter Motorroller.de bestimmt das richtige Element. In unserem Warenlager befinden sich für etwa 8500 Typen und 250 Marken diverse Produkte als Zubehör, Ersatzteile und Artikel. Z.B. arbeiten wir schon jahrelang mit so namhaften Produzenten wie Kreidler, Jonway, Adly Yamaha oder zusammen. Auf einer Lagerfläche von über 1.000 m² haben wir in unserem Hochregallager circa 500.000 Produkte diverser Hersteller im Programm. Alles was Sie als Rollerfahrer brauchen, finden Sie in unserer Zubehörabteilung. Das beginnt bei den Nierengürteln, Regensets und Handschuhen, und geht bis hin zu den Windschildern über die Sturzhelme und das Top Case.Selbst Tuningfans kommen bei uns auf ihre Kosten. Zum Tunen ihres motorisierten Zweirads finden sie in unserer Tuningabteilung alles was das Herz begehrt, wie z.B. Auspuffanlagen, Kolben, Zylinder und andere Dinge.Unmittelbar nach der ProduktionRegelmäßige Qualitätsprüfungen sind das Hobby unseres Hauses. Dies bedeutet, bevor wir einen Roller in die Hände des Kunden übergeben, wird er von uns nochmals auf tadellose Funktion und Mängelfreiheit untersucht. Vor der Übergabe wird erstmal jeden Motorroller ausgepackt und auf unserem computergesteuerten Prüfstand einem Testlauf unterzogen. Ein allerletzter Funktionstest erfolgt dann bei der Übergabe an den Kunden. Hierdurch ist sichergestellt, dass das Fahrzeug sich wirklich in einem einwandfreien Zustand befindet und den Käufer ganz und gar zufriedenstellt.Schutz unserer UmweltWas uns besonders am Herzen liegt, ist ein wirksamer Umweltschutz. Unsere Zweiräder verfügen zum einen durchweg über einen effizienten Motor. Bei der Anlieferung unserer Motorroller bleibt stets das Verpackungsmaterial übrig. Dieses nehmen wir natürlich wieder mit und führen es einer fachgemäßen Entsorgung zu.Roller-AnkaufIhr alter Roller tut es nicht mehr richtig und Sie planen, bei uns ein neues Zweirad zu bestellen. Was aber tun mit dem alten Fahrzeug? Kein Problem! Lassen Sie das unsere Sorge sein, denn wir nehmen Ihren gebrauchten Motorroller in Zahlung.Wir konnten Ihre Skepsis trotz allem nicht beseitigen?Dann würden wir uns darüber freuen, wenn Sie uns die Möglichkeit geben, unsere Leistungen unter Beweis zu stellen. Wir sind kein billiger Onlineshop, der heute seine Ware anbietet und morgen schon wieder weg ist. Die solide Basis für ein erfolgreiches Unternehmen besteht darin, dass allein zufolge fortschrittlicher Innovationen und neuer Ideen ein nachhaltiges Wachstum gesichert werden kann. In Folge dessen stehen Fleiß und fortwährendes Lernen in unserem stetig expandierenden Betrieb fortwährend in der Rangordnung ganz oben. Wenn für Sie mal die Möglichkeit besteht, einen Abstecher nach Lindenfels-Eulsbach machen zu können, haben Sie die Gelegenheit, sich selber von unserem herausragenden Kundenservice in unserem Betrieb zu überzeugen.Wie kommen Sie auf einfache Weise zu uns nach Lindenfels?Lindenfels befindet sich im Regierungsbezirk Darmstadt, und zwar 40 km nordöstlich von Mannheim respektive rund 60 km südlich von Frankfurt am Main. Sie fahren am besten von Süden her über die A8, während Sie aus nördlicher Richtung die A6 nehmen. Ohne Frage kann man auch ganz bequem per Bahn hinfahren.Unsere TopmarkenUnsere Topmarken

Verkaufspreis:
Nicht verfügbar
5,30 € Regulärer Preis: 6,10 €